Các bằng sáng chế mới cho thấy, Apple dường như đang ấp ủ một kế hoạch "đại cải tiến" cáp Lightning.
![]() |
| Thiết kế cáp Lightning hiện tại của Apple. Ảnh: CNET |
Theo trang Patently Apple, đại gia công nghệ Mỹ đang nghiên cứu phát triển cáp Lightning thế hệ tiếp theo, với thiết kế tạo ra "khóa chống nước". "Một khóa chất lỏng được hình thành giữa phụ kiện và thiết bị điện tử, khiến chúng vẫn sử dụng tốt trong các điều kiện ẩm ướt hoặc/và bẩn bụi", trích nội dung sáng chế.
Khả năng chống chịu tác động khắc nghiệt đặc biệt quan trọng đối với smartphone, đặc biệt với những mẫu điện thoại flagship có giá đắt đỏ, lên tới hơn 1.000 USD như iPhone X. Để nâng cao độ bền cho sản phẩm, kể từ Apple Watch và sau đó là iPhone 7, Apple đã trang bị khả năng chống nước cho các thiết bị của hãng. Với dòng sản phẩm đồng hồ thông minh, Apple thậm chí còn cho ra đời "chế độ nước" vô hiệu hóa đầu vào thiết bị và xả thải nước ra bên ngoài sau khi người dùng tắt chế độ này.
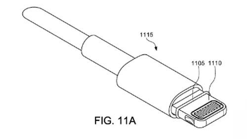
Trong nỗ lực cải tiến mới nhất, Táo khuyết đang tìm cách khóa kín cổng Lightning. Hiện vẫn chưa rõ "khóa chống nước" sẽ nằm ở trên thiết bị hay ở trên cáp Lightning, song nó hứa hẹn sẽ rất thú vị.
![]() |
Các hình minh họa ý tưởng của Apple gồm có cáp Lightning sở hữu đầu nối vát nhọn cắm vào cổng và đầu cáp với miếng đệm cao su chuyên dụng, giúp chốt chặt cổng sau khi cắm cáp.
![]() |
Bất chấp bằng sáng chế trên, Apple được tin có thể cân nhắc loại bỏ cổng Lightning hiện thời để thay thế bằng các cổng USB-C ngày càng phổ biến hơn và đang được sử dụng ở các smartphone Android cũng như laptop mang thương hiệu Táo khuyết hay không.
Apple hiện chưa đưa ra bất kỳ phản hồi nào trước những thông tin trên.
Tuấn Anh (Theo 9to5mac, CNET)

Muốn sạc iPhone X, nhanh hơn, người dùng phải bỏ cáp Lightning?
Apple bị tố "làm khó" người dùng iPhone X, iPhone 8 và iPhone 8 Plus khi ngấm ngầm ép họ phải từ bỏ cáp Lightning nếu muốn sạc thiết bị nhanh hơn.

Lộ video cáp Lightning thay jack tai nghe iPhone 7 tại VN?
Một video mới xuất hiện từ Việt Nam dường như hé lộ cáp nối Lightning chính thức thay thế cho giắc cắm tai nghe của iPhone.

iPhone 6 sẽ trang bị cáp Lightning mới có khả năng đảo ngược
Kết nối mới của Apple sẽ mang đến sự thuận tiện cho người sử dụng khi nó có thể cắm ở cả hai đầu khác nhau.


