Tất nhiên, việc đăng ký bằng sáng chế không hề đảm bảo rằng một sản phẩm thực tế sẽ trình làng, nhưng ít nhất, nó cho thấy Táo khuyết cũng rất quan tâm đến công nghệ màn hình cong.
Thời gian gần đây, Apple không ngần ngại "học" theo các đối thủ trong những xu hướng hot như smartphone màn hình lớn, smartwatch. Do đó, với việc Samsung đã tung ra tới 3 thiết bị màn hình cong là Galaxy Note Edge, Galaxy S6 Edge và Galaxy S6 Edge+ thì người dùng hiển nhiên có quyền mong chờ một sản phẩm tương ứng từ phía iPhone.
![]() |
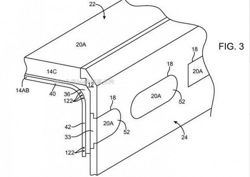
Bằng sáng chế mới nhất của Apple tiết lộ rằng, hoặc hãng đã có kế hoạch, hoặc đang có kế hoạch phát triển một mẫu iPhone với màn hình phẳng để hiển thị thông tin, ngoài ra còn có một màn cong (ẩn đi) ở bên trong điện thoại - một ý tưởng rất kỳ lạ.
Trong bức ảnh đầu tiên bên trái, Apple đã vẽ một phiên bản iPhone phone gây chú ý ở việc thiếu vắng nút Home vật lý. Và đến bức vẽ mô tả cạnh bên của thiết bị, Apple diễn giải rằng "Phần cong có thể chứa những nút bấm ảo, dành riêng cho các ứng dụng phần mềm tương ứng với phát minh hiện tại" (nhiều khả năng là ám chỉ nút Home).
![]() |
Điều này có nghĩa là giới lập trình sẽ phải viết mới ứng dụng để chúng tương thích với loại màn hình mới, cho phép các nút điều khiển hiện ra ở phần màn hình cong. Quan trọng hơn, Apple không nhất thiết phải khai thác toàn bộ màn hình cong như cách mà Samsung đang làm. Thay vào đó, hãng sẽ bỏ qua phần cong của màn hình mà tập trung vào phần màn hình phẳng phía trên cùng hai cạnh viền.
Tất nhiên, là một phác thảo ý tưởng, sản phẩm thực tế (nếu có) có thể khác rất xa so với những gì bạn thấy hiện tại. Nhưng liệu mức độ hào hứng của người dùng dành cho iPhone màn hình cong lớn đến đâu, và Apple có thể biến công nghệ này trở nên đại trà hay không? Hãy cùng chờ xem.
T.C

