Ngoài các sản phẩm nổi tiếng như smartphone, máy tính bảng, laptop, máy tính để bàn, thậm chí là TV, Apple đang tính nhảy sang cả lĩnh vực máy in 3D bằng một sản phẩm cực kỳ độc đáo.

Cách đây không lâu, Apple đã đăng ký bản quyền cho chiếc máy in màu 3D. Tất nhiên, công nghệ in 3D không mới, nhưng việc Apple "tự nhiên" nhảy vào lĩnh vực này không phải chuyện đơn giản.
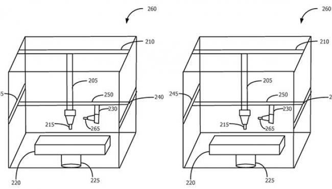
Trước đây, Apple đã có lần nhắc tới ý tưởng tạo ra các vật thể khác nhau có nhiều màu sắc đa dạng. Về mẫu bản quyền mới nhất này, Apple nhắc tới việc sử dụng công nghệ giống như in phun với ý tưởng sử dụng 2 đầu in khác nhau.
Đầu in chính sẽ tạo ra vật thể từ nhiều lớp vật liệu dạng nhựa khác nhau. Đầu in còn lại sẽ tạo màu cho các vật thể này. Đây là ý tưởng khá thú vị, và trên thực tế Apple đã sử dụng công nghệ in 3D để tạo ra các mẫu thiết kế thử nghiệm.
Nhiều khả năng, Apple sẽ sớm cho ra chiếc máy in 3D theo cách riêng của mình. Tuy nhiên, khoảng thời gian đó có thể là 1-2 năm chứ không thể ngay trong nay mai.
Nguyễn Minh