![]() |
Bằng sáng chế này được đệ trình từ năm 2011 và xuất hiện lần đầu năm 2013, nhưng nay mới chính thức thuộc về Apple.
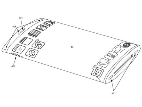
Những hình ảnh trong bằng sáng chế cho thấy một chiếc iPhone cong với màn hình bao quanh, cung cấp thêm diện tích để hiển thị tới 5 biểu tượng ứng dụng trên một hàng.
Chiếc iPhone này có thể sử dụng nhiều camera để theo dõi khuôn mặt của người dùng và thay đổi màn hình cho phù hợp.
Ngoài ra, bằng sáng chế còn nhắc tới các nút ảo. Theo bằng sáng chế, nút âm lượng vẫn nằm ở phía bên trái nhưng là nút ảo và có thêm một số tính năng bổ sung. Ví dụ. mức âm lượng luôn được hiển thị.
Ngoài ra, chức năng của nút khóa màn hình có thể để điều khiển bằng cách chạm vào các cạnh bên của điện thoại.
Hãy chờ xem liệu có tính năng mới nào sẽ xuất hiện ở iPhone 6 sau khi Apple được cấp bằng sáng chế này hay không.
