
Đánh rơi điện thoại là một trong những sự cố thường xuyên gặp phải nhất kể từ khi smartphone ra đời. Ngoại trừ cách trang bị vỏ ốp hoặc kính cường lực cho smartphone, bạn gần như không có cách nào khác để bảo vệ cho chiếc điện thoại quý giá của mình. Thật may mắn, Apple đã tìm ra cách giải quyết vấn đề này: trong một bằng sáng chế mới được công bố có tên "Chủ động bảo vệ màn hình cho thiết bị điện tử", Apple đã nghĩ ra cơ chế tự động mở các bộ giảm chấn để giúp cho màn hình điện thoại không bị va đập trực tiếp với mặt đất.
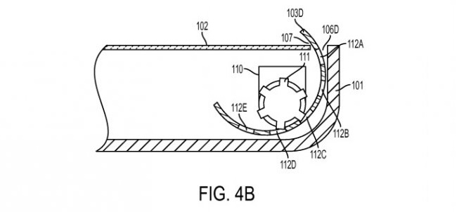
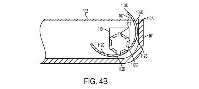
Thiết kế của Apple cho thấy các bộ giảm chấn kích cỡ nhỏ có thể được làm từ nhựa mềm, polymer hoặc kim loại. Các bộ giảm chấn này sẽ được tự động mở ra khi cảm biến gia tốc, cảm biến độ cao hoặc cảm biến con quay hồi chuyển của iPhone phát hiện ra chuyển động rơi bất ngờ.

Khi điện thoại đã "yên vị" dưới mặt đất, cơ chế bảo vệ của Apple cho phép tự động rút các thanh giảm chấn vào trong bằng các motor nhỏ.

Cuộc chạy đua tìm các cơ chế bảo vệ màn hình đã bắt đầu từ khi chiếc iPhone đầu tiên ra mắt vào năm 2007. Apple cũng không phải là công ty đầu tiên nghĩ ra một cách bảo vệ smartphone tương đối kỳ lạ. Trước đây, Honda đã tạo ra nhiều... túi khí tự bung khi smartphone tự phát hiện đang rơi. Tuy vậy, Apple có lẽ sẽ chưa áp dụng tính năng này vào các sản phẩm trong tương lai gần, do đó điều duy nhất mà bạn có thể làm cho chiếc iPhone yêu quý của mình bây giờ vẫn chỉ là... mua vỏ ốp và cố gắng dùng iPhone thật cẩn thận.