Vừa qua, Apple đã nhận được một bằng sáng chế mới về công nghệ camera, đây được coi là bước ngoặt cho thấy công ty có trụ sở tại Cupertino sẽ sớm trở thành một cái tên thách thức thị trường máy ảnh di động.
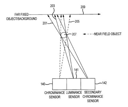
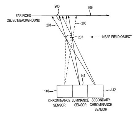
Theo mô tả, hệ thống camera trên lý thuyết của Apple sẽ được thiết kế từ ba thấu kính và ba cảm biến ghép lại. Trong đó một cảm biến dùng để đo độ sáng và hai cảm biến dành cho màu sắc. Mỗi cảm biến này đều có khả năng chụp hình riêng nhưng bức ảnh cuối cùng sẽ là tổng hòa của cả 3 do đó tạo được độ chính xác cao về màu sắc.

Trong khi đó, cách bố trí hệ ba thấu kính sẽ giúp khắc phục một nhược điểm đang tồn tại ở nhiều hệ thống camera khác là điểm mù. Trong trường hợp một cảm biến bị che khuất tạo thành điểm mù thì 2 cảm biến còn lại sẽ đóng vai trò “bù đắp” những lỗ hổng về màu sắc để tạo ra bức ảnh chụp hoàn chỉnh nhất.

Hiện tại, công nghệ camera mới này vẫn chỉ là những lý thuyết trên giấy, do đó có lẽ sẽ phải mất một thời gian nữa để nó được ứng dụng trong thực tế.
Theo Tri thức trẻ/Phonearena