Nếu xác thực, thiết bị iPhone này chắc chắn sẽ làm những người hâm mộ “táo khuyết” được dịp thực sự sửng sốt.
Mới đây, dẫn nguồn từ một bản nghiên cứu thực hiện bởi nhà phân tích Peter Misek cho hay Apple đang thử nghiệm một loạt các mẫu máy mới với những đặc điểm cực kì độc đáo, trong đó đáng chú ý nhất là thiết bị iPhone màn hình OLED có thể “biến hình” thành iPad Mini.
![]() |
|
Peter Misek, tác giả của nghiên cứu là một nhà phân tích các thông tin về Apple có tiếng. |
Misek cho hay anh có được thông tin này từ một số nguồn tin thân cận với các nhà máy cung ứng ở Châu Á, dẫu vậy, MacRumors khẳng định nhiều khả năng tất cả các mẫu máy mà Misek nhắc đến đều mới chỉ đang được sản xuất với số lượng nhỏ nhằm mục đích nghiên cứu đơn thuần.
![]() |
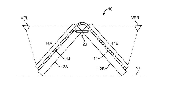
|
Đầu năm nay, một hồ sơ bản quyền liên quan đến màn hình gập, mở của Apple cũng được Patently Apple đăng tải. |
Bên cạnh chiếc iPhone 4 inch có thể gấp, mở thành kích thước tương đương iPad Mini, Misek còn liệt kê nhiều mẫu máy khác mà Apple đang thực hiện như điện thoại màn hình OLED 5,5 inch độ phân giải 2K (tức mật độ điểm ảnh lớn hơn 660PPI, iTV với màn hình 4K điều khiển bằng cử chỉ và giọng nói hoàn toàn, Macbook Air màn hình cảm ứng chạy chip A8, đồng hồ thông minh màn hình cong cùng một số thiết bị mang mặc và thiết bị hỗ trợ xác thực thanh toán.
![]() |
|
Thông tin mới nhất về iWatch cho rằng thiết bị này sẽ có màn hình tròn. |
Bên cạnh các thông tin nêu trên, nhà phân tích này còn đưa ra nhận định rằng Apple iWatch đã chính thức đi vào giai đoạn sản xuất với số lượng lớn và Apple có thể giới thiệu bất cứ lúc nào. Nói về chiếc iPhone, Misek đồng ý với các tin đồn cho rằng sẽ có hai phiên bản iPhone màn hình khác nhau ra mắt trong năm. Cụ thể, phiên bản iPhone 4,7 inch sẽ ra mắt trước, bản 5,5 inch sẽ phải đợi đến sớm nhất là tháng 11.
![]() |
|
Sự kiện đầu tiên trong năm nay của Apple sẽ khai màn vào đầu tháng 6 tới đây. |
Như thường lệ, Apple không đưa ra bất cứ bình luận nào về các phân tích nêu trên. Dẫu vậy, hy vọng tại sự kiện WWDC sắp diễn ra, thông qua mảng phần mềm mà “táo khuyết” giới thiệu, chúng ta sẽ có một số cái nhìn ban đầu về các thiết bị phần cứng Apple ấp ủ trong năm 2014.
Theo Tri thức trẻ



