Sáng chế mới nhất của Apple sẽ đặt toàn bộ cảm biến của iPhone dưới màn hình giúp cho chiếc điện thoại mỏng và nhẹ hơn rất nhiều.
![]() |
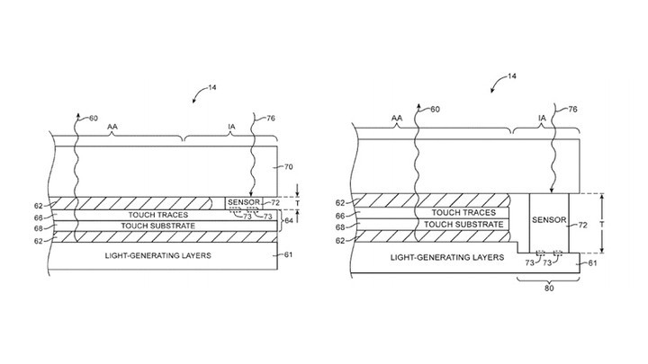
Công nghệ này sẽ tích hợp cảm biến ánh sáng xung quanh vào thẳng màn hình giúp loại bỏ cạnh viền để tăng tối đa diện tích màn hình.
Trước đây, cảm biến ánh sáng thường được gắn ở mặt trước iPhone giúp tự động điều chỉnh độ sáng màn hình cho dễ nhìn hơn và cũng là cách để tiết kiệm pin cho điện thoại.
Ngoài cảm biến ánh sáng, sáng chế mới của Apple còn cho phép đặt cả cảm biến tiệm cận và các loại cảm biến khác vào màn hình.
![]() |
Nhược điểm duy nhất của sáng chế này là phần tích hợp cảm biến sẽ bớt nhạy đi một chút. Tuy nhiên, Apple đã có cách khắc phục. Những phần màn hình có cảm biến đặt phía dưới sẽ dùng để hiển thị các thông tin phụ, chẳng hạn thời gian hoặc thời lượng pin còn lại, nói chung là những nơi mà người dùng không cần tương tác.
Việc loại bỏ cạnh viền điện thoại sẽ giúp giảm tối đa kích thước và trọng lượng của thiết bị. Kết hợp với sáng chế nút nguồn nhỏ hơn và cảm biến chạm gắn luôn vào màn hình trước đây, kích thước và kiểu dáng iPhone tương lai được cho là sẽ có sự biến đổi đáng ngạc nhiên.
Nguyễn Minh (theo DigitalTrends)

