Có thể bạn từng bắt gặp khung cảnh rất đẹp, giơ máy ảnh lên chụp nhưng rồi thất vọng vì máy không thể ghi lại hình ảnh đẹp như mắt nhìn thấy.
Nguyên nhân chủ yếu đến từ những hạn chế của cảm biến máy ảnh, trong đó có hình dạng của chúng. Bằng sáng chế mới của Sony cho thấy hãng đang tìm cách khắc phục nhược điểm này.
Qua hàng triệu năm tiến hoá, mắt người đã trở thành một tạo vật giúp đem lại khả năng quan sát tuyệt vời. Các loại camera dù có đắt tiền đến đâu thì cũng chỉ là một bản sao chưa hoàn thiện của đôi mắt.
![]() |
|
Cảm biến cong sẽ là một cuộc cách mạng về nhiếp ảnh? Ảnh: PDN Pulse. |
Gần đây, các nhà sản xuất đã tạo ra một phát minh có khả năng mô phỏng mắt người, đó là cảm biến cong. Các loại cảm biến thông thường có bề mặt bằng phẳng. Điều này sẽ khiến những bức ảnh cho ra có một "độ cong" không tự nhiên, bắt buộc các nhà sản xuất phải điều chỉnh quang học bằng các thấu kính.
Khối lượng và độ dày của cả hai thành phần sẽ đem lại sự bất tiện nhất định cho người dùng. Vì vậy, việc thay thế cảm biến thông thường bằng loại cong sẽ giảm thiểu vấn đề trên.
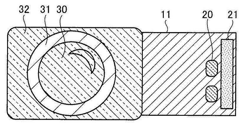
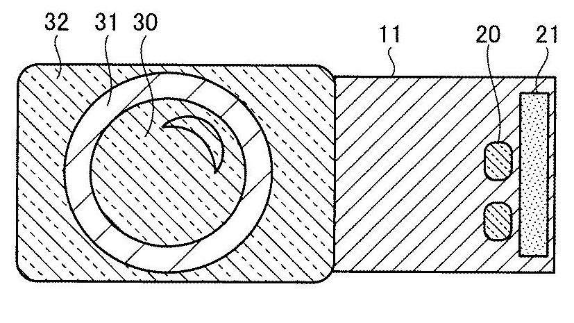
Cảm biến cong mô phỏng thiết kế của võng mạc mắt người, giúp máy ảnh có độ nhạy cao gấp 1,4 lần ở vùng trung tâm và gấp 2 lần ở phần rìa của nó. Sony đã nghiên cứu công nghệ này từ năm 2014.
![]() |
|
Hình mẫu thiết kế của công nghệ cảm biến cong. Ảnh: Sony. |
Sony cùng vài nhà sản xuất khác như Canon đã phát triển công nghệ này được một thời gian. Cảm biến cong vẫn đang trong giai đoạn nghiên cứu, chưa được tung ra thị trường.
Vào cuối năm 2020, Sony đã đăng ký bằng sáng chế sản xuất cảm biến cong. Theo DCW, có thể hãng dùng loại cảm biến này cho các đời smartphone mới. Công nghệ này có thể giúp những mẫu smartphone của Sony đạt được bước tiến lớn, và có thể thay đổi cả ngành nhiếp ảnh nếu nó được phát triển dài hạn, tạo ra khác biệt lớn so với các công nghệ hiện có.
Theo Zing/Digital Camera World

Facebook hợp tác Ray-Ban chuẩn bị ra mắt kính thông minh
Facebook sẽ hợp tác với hãng kính nổi tiếng Ray-Ban của Italia, để phát triển một chiếc kính thông minh và có thiết kế thời trang, dự kiến sẽ sớm được ra mắt trong thời gian tới.

