
Phần lõi của mỗi hãng xe lại sử dụng loại vật liệu khác nhau, với điểm chung là chất liệu nhẹ, mềm.
Tùy vào đời xe, tấm chắn nắng có thể sử dụng chất liệu bên trong lõi khác nhau.
Đa phần tấm chắn nắng của xe ô tô sử dụng bộ khung bên trong bằng nhựa, bọc lớp mút đệm mềm và bên ngoài bọc vải. Tấm chắn nắng này chỉ duy nhất phần xương gá vào xe bằng kim loại.
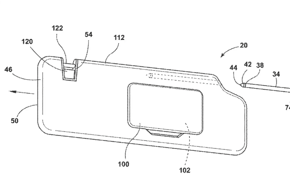
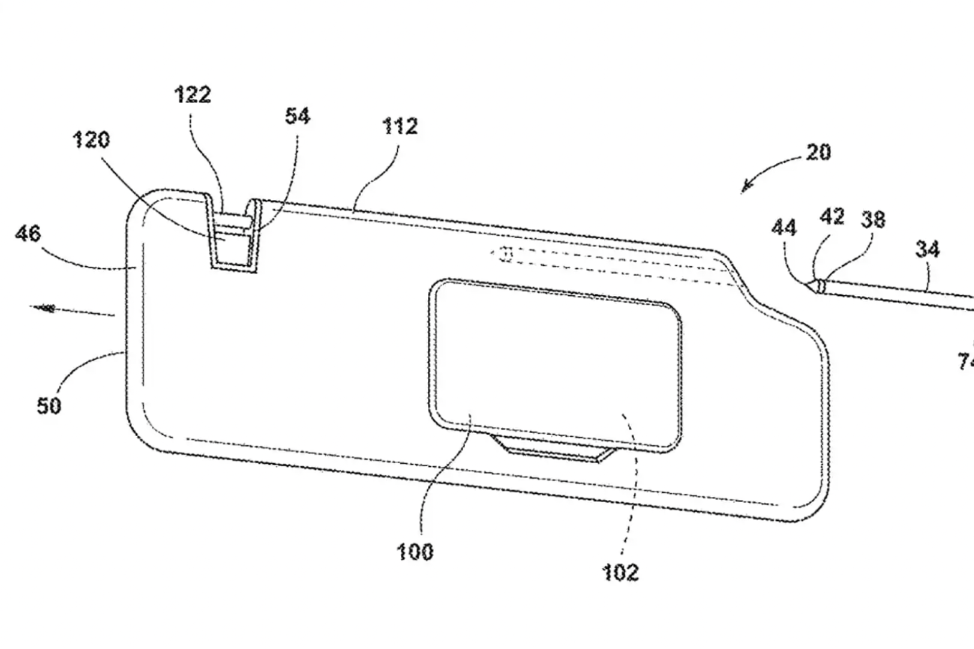
Tấm chắn nắng ô tô có thể kéo dài để che khoảng hở trên kính và được tích hợp khe đựng giấy tờ để tăng sự tiện lợi cho chủ xe.

Tấm chắn nắng trên ô tô có thể kéo về phía trước che mặt kính phía trên ghế lại, ghế phụ, đồng thời có thể kéo sang bên hông kính lái, kính phụ để che nắng theo hướng xe đang chạy, chống nắng, chống chói mắt.
Một số xe khung cửa lớn, tấm chắn nắng không che được hết dẫn đến có khoảng hở. Lúc này người sử dụng có thể dùng tay kéo dài tấm chắn nắng để che đi.
Đa số các tấm chắn nắng được thiết kế trên xe đều có thể di chuyển, kể cả phía bên ghế phụ.
Tuy nhiên, trên một số xe, không thể thực hiện việc kéo dài tấm chắn nắng do thiết kế cố định nhằm giảm bớt chi phí của nhà sản xuất.
Ngoài ra, một công dụng khác của tấm chắn nắng là để giấy tờ xe.
Đối với một số dòng xe, tấm chắn nắng tích hợp gương và đèn, bộ phận bên trong sẽ bao gồm đường dây điện. Tuy nhiên, phần chính vẫn làm từ loại vật liệu nhẹ.
Theo VTC
Hãy để lại ý kiến dưới phần bình luận bên dưới hoặc chia sẻ bài viết về Ban Ô tô xe máy theo email: otoxemay@vietnamnet.vn. Các nội dung phù hợp sẽ được đăng tải. Xin cảm ơn!
