Mới đây, trên diễn đàn về ô tô nổi tiếng GR89, những hình ảnh chi tiết về bằng sáng chế mới của Toyota đã được đăng tải và ngay lập tức thu hút được sự chú ý của dư luận.
Theo những thông số trên bằng sáng chế này, bản thiết kế mà Toyota đăng kí được cho là có liên quan đến GR Super Sport - mẫu siêu xe mạnh gần 1.000 mã lực.
![]() |
| Mẫu siêu xe GR Super Sport của Toyota (Ảnh: Motor1) |
Hãng xe Nhật Bản đã đăng kí bằng sáng chế cho bộ phận mui kiêm cửa xe mở lên cao của mẫu siêu xe này với Văn phòng Sáng chế và Nhãn hiệu Mỹ (USPTO). Đi cùng với đó là phần bệ cửa bên trái thân xe được hạ thấp, cho phép người lái có thể ra vào cabin đơn một cách dễ dàng.
Thiết kế này hoàn toàn trùng khớp với mẫu xe concept Toyota GR Super Sport từng được giới thiệu hồi tháng 6 năm ngoái. GR Super Sport có khoang lái dành riêng cho 1 người ngồi, tương tự các mẫu xe đua F1 hiện hành.
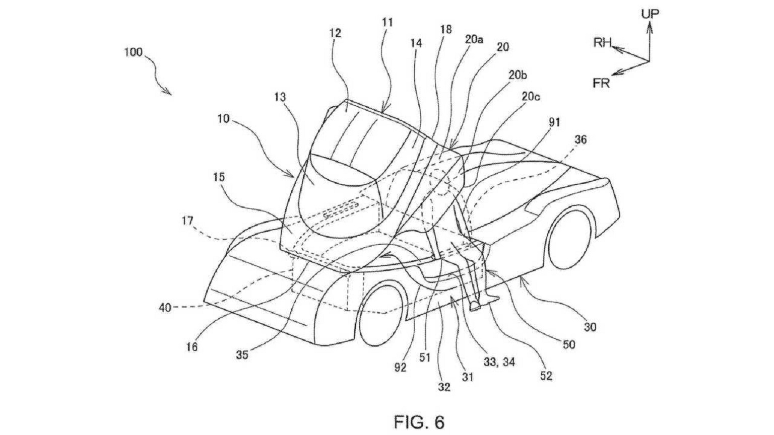
![]() |
| Hình ảnh bằng sáng chế của Toyota rò rỉ trên diễn dàn ô tô nổi tiếng (Ảnh: Motor1) |
Theo nhiều nguồn tin, mẫu xe này của Toyota cũng sẽ được thay đổi cấu hình động cơ nhằm có thể vừa giành suất tham dự giải đua World Rally Championship của Liên đoàn ô tô quốc tế FIA, lại vừa được cấp phép di chuyển trên đường phố.
Phiên bản xe đua của GR Super Sport sở hữu công suất lên tới 750 mã lực và nhiều khả năng xe được kết hợp hệ thống hybrid để hỗ trợ cho động cơ. Trong khi đó phiên bản thương mại sẽ là một mẫu siêu xe thực thụ với động cơ V6 dung tích 2.4L tăng áp kép, kết hợp với động cơ điện. Xe sở hữu sức mạnh lên tới 986 mã lực.
![]() |
| Mẫu GR Super Sport có cả phiên bản đường đua lẫn bản thương mại (Ảnh: Motor1) |
Hiện vẫn chưa rõ thời điểm mà Toyota sẽ trình làng mẫu GR Super Sport này, tuy nhiên nhiều nguồn tin cho hay mẫu siêu xe này sẽ sớm xuất hiện trên đường phố vào thời gian tới. Mức giá dự kiến của GR Super Sport có thể lên tới 1 triệu USD.
Mai Lý (Theo Motor1)
Mọi tin bài, video cộng tác xin gửi về Ban Ô tô xe máy theo email: otoxemay@vietnamnet.vn. Các nội dung phù hợp sẽ được đăng tải. Xin cảm ơn!

Giá dưới 2 tỷ, chiếc sedan nào ngốn xăng nhất tại Việt Nam?
Qua phân tích dữ liệu về mức tiêu thụ nhiên liệu của hơn 500 mẫu xe tại Việt Nam do Cục Đăng kiểm vừa cập nhật công bố, 10 mẫu xe sedan giá dưới 2 tỷ đồng sau đây có thể nói là “ngốn xăng” nhất tại thị trường Việt Nam.


