Các thế hệ sản phẩm iPhone, iPad tiếp theo của Apple rất có thể sẽ có màn hình hiển thị ba chiều cảm ứng theo một bằng sáng chế mới vừa được công bố của hãng.
![]() |
|
Công nghệ màn hình mới của Apple sẽ cho người dùng trải nghiệm hình ảnh 3D như trong phim Star Wars. |
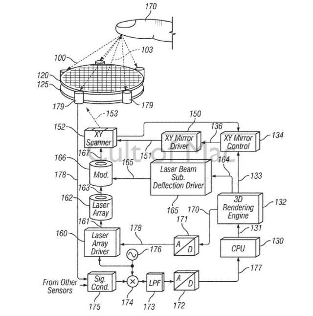
Bằng sáng chế này sẽ thay đổi giao diện cảm ứng dựa trên vật lý đang được áp dụng hiện nay cho iPhone và máy tính bảng. Những hình ảnh nổi ba chiều 3-D sẽ được tạo ra bằng cách sử dụng chùm ánh sáng. Apple sẽ sử dụng một ống kính tạo thành từ nhiều ống kính micro để làm chệch hướng ánh sáng laser ở các góc độ khác nhau nhằm tạo ra một ảo ảnh quang học ba chiều.
|
|
|
Photo: Apple/USPTO |
Chế độ cảm ứng sẽ được kích hoạt khi một chùm tia bị gián đoạn bởi một ngón tay hoặc bút stylus, và thông tin của các chuyển động này sẽ biến thành dữ liệu để điều khiển hoạt động của máy. Bằng sáng chế thiết bị hiển thị ba chiều tương tác này của Apple được nộp lần đầu tiên vào đầu năm 2011 do đó khả năng thiết bị này đang trong giai đoạn nghiên cứu là rất cao.
Tuy nhiên vẫn có nguy cơ bằng sáng chế này sẽ không bao giờ xuất hiện trên một thiết bị hoàn chỉnh trong tương lai gần vì công nghệ hiện nay vẫn chưa đáp ứng tốt các yêu cầu đề ra trong bằng sáng chế.
Theo TGDĐ/Cultofmac


