Theo Gizmochina, 2 bằng sáng chế mới của Apple vừa được công bố tiết lộ những tính năng mới độc đáo của iPhone và iPad trong tương lai.
Bằng sáng chế thứ nhất số 20200104021 mô tả thiết bị di động như iPhone hoặc iPad có thể được sử dụng dưới nước. "Giao diện người dùng dưới nước" (Underwater User Interface) đề cập việc giao diện người dùng thiết bị iOS được đơn giản hóa khi phát hiện thiết bị đang ở dưới nước.
![]() |
| iPhone tương lai có thể sử dụng thoải mái dưới nước |
Đây được xem là bước tiến đáng chú ý trong hướng phát triển phầm mềm vì trước đây các nhà sản xuất chủ yếu tập trung vào việc bảo vệ phần cứng khi thiết bị ngập nước.
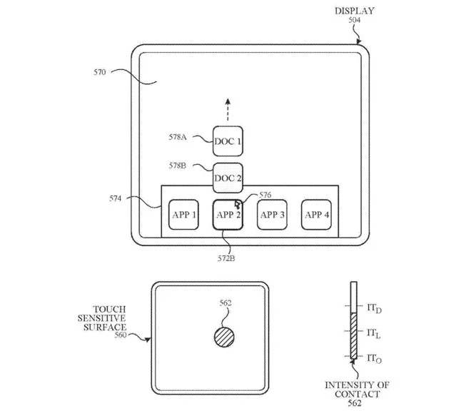
Theo bằng sáng chế này, các phương thức hiển thị giao diện người dùng khi một thiết bị ở dưới nước như hiện nay đã lỗi thời, tốn thời gian và không hiệu quả. Như việc phải nhấn phím nhiều lần hoặc tổ hợp phím gây khó khăn và mất nhiều thời gian. Do đó, tiêu chí của Apple với giao diện người dùng dưới nước là đơn giản.
Ngoài việc đơn giản hóa tác vụ, Apple còn hướng đến bổ sung hệ thống cảm biến lực chạm, kết hợp với màn hình cảm ứng để nhận diện chính xác luồng xung động chạm trên bề mặt thiết bị ở dưới nước. Điều này giúp người dùng dễ dàng thực hiện các tác vụ trên iPhone dưới nước một cách dễ dàng.
![]() |
| Mô tả bằng sáng chế mới của Apple |
Bằng sáng chế thứ 2 số 20200104033 mô tả tính năng điều hướng xoay màn hình thông qua cảm biến Face ID. Nó hỗ trợ giao diện người dùng dưới nước hiệu quả hơn.
Tính năng tự động xoay màn hình trên iPhone và iPad hiện nay đều đã có. Nhưng trên thực tế tính năng này hiện nay không phải lúc nào cũng chính xác theo mong muốn người dùng. Vì nó hoạt động dựa trên chiều trọng lực, chứ không phải căn cứ theo hướng khuôn mặt người dùng. Do đó, khi sử dụng thiết bị dưới nước, tính năng tự xoay màn hình hiện nay có nhiều bất cập.
![]() |
| Tính năng điều hướng xoay màn hình thông qua cảm biến Face ID sẽ có trên iPhone tương lai |
Apple đưa ra giải pháp sử dụng cảm biến Face ID giúp nhận diện chiều khuôn mặt người dùng hướng vào thiết bị, từ đó tự động điều chỉnh góc xoay màn hình phù hợp. Điều này sẽ đặc biệt hữu ích khi iPhone hoặc iPad được giữ trên một bề mặt phẳng.
Hải Phong (theo Gizmochina)

Ngắm mẫu iPhone 12 khiến các iFan thèm khát
Mặc dù dịch Covid-19 đang gây ra những ảnh hưởng không nhỏ đến chuỗi cung ứng, Apple được cho là vẫn sẽ ra mắt iPhone 12 vào tháng 9 tới.


