Màn hình giữ nguyên (hover) cho phép bạn tương tác với thiết bị Apple của bạn mà không thực sự phải chạm màn hình. Chỉ cần giữ ngón tay hay bút kim trâm lên ứng dụng mong muốn, và ứng dụng sẽ mở ra giống như việc bạn chạm lên màn hình, theo Apple Insider.
Khả năng này giúp một iPhone hay iPad phân biệt lúc nào bạn muốn mở một ứng dụng - hoặc nếu bạn có lỡ trượt tay trên màn hình. Nhưng các nhà phát triển có thể điều chỉnh giao diện để đọc được các ý định của bạn bằng cách cảm nhận bạn đang giữ nguyên bao lâu tại một điểm nhất định và bạn trượt tay bao xa từ màn hình.
![]() |
|
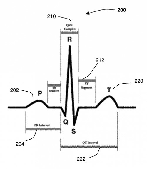
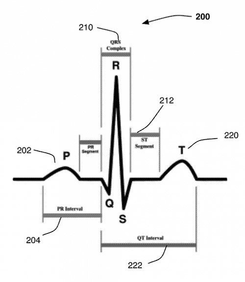
Bản quyền sáng chế khả năng đo nhịp tim |
Bản quyền sáng chế thứ 2 cũng tập trung vào đọc mã thông tin. Khả năng đo nhịp tim có thể đọc dữ liệu EKG của bạn ở một mức độ khá phức tạp để có thể nhận dạng người dựa trên các khác biệt về nhịp đập của tim theo phút.
(Theo ICTpress)