Theo thông tin được công bố bởi USPTO, cơ quan bản quyền của Mỹ thì Samsung vừa được cơ quan này cấp một bằng sáng chế liên quan đến bút cảm ứng stylus.
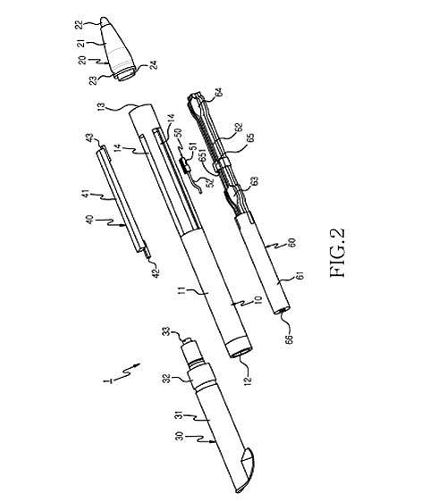
Nguồn tin trên cho biết, Samsung đã nộp lên USPTO hai yêu cầu cấp bằng sáng chế liên quan đến bút cảm ứng S Pen với microphone và loa tích hợp.

Với bằng sáng chế này, bút S Pen của Samsung sẽ có khả năng gọi điện và ra lệnh cho điện thoại bằng giọng nói thông qua microphone và loa được trang bị trên bút cảm ứng. Ý tưởng của Samsung là biến bút S Pen trở thành một thiết bị giống như là một tai nghe và micro cài áo kết hợp.
Nhiều khả năng Samsung sẽ cụ thể hóa bằng phát minh này khi phát hành Galaxy Note phiên bản tiếp theo mà hãng ra mắt trong thời gian tới.
(Theo TTCN)