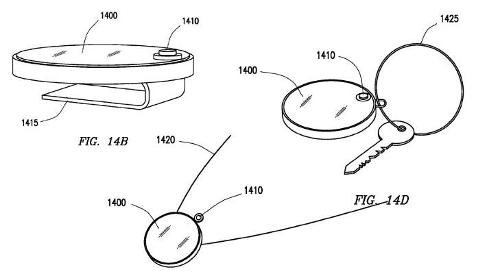
Tháng 8 vừa qua, Samsung đã nộp lên USPTO một bằng sáng chế đồng hồ thông minh có thiết kế gần giống Moto 360 nhưng mãi tới tuần trước thì USPTO mới công bố thông tin về nó. Chúng ta vẫn không biết được các thông tin chi tiết như kích cỡ hay thiết kế, nhưng bằng phát minh của Samsung ghi khá rõ về cách người dùng tương tác với smartwatch mới của Samsung. Theo đó, đồng hồ này sẽ cho phép người dùng thay các mặt hiển thị khác nhau, xem dự báo thời tiết, theo dõi sức khỏe và có thể tích hợp cả cảm biến nhịp tim. Ấn tượng nhất là Samsung cho phép tháo đồng hồ ra khỏi dây đeo và móc vào cổ áo hay chùm chìa khóa... Để dễ hình dung, bạn có thể liên tưởng đến Misfit Shine.
Nhìn kỹ hơn, chúng ta sẽ thấy Samsung tích hợp camera vào dây đeo đồng hồ, giống với Galaxy Gear để chụp hình, quét mã vạch hay nhận diện các vật thể, các dòng chữ để dịch ngay lập tức. Hơn thế nữa, bằng phát minh cũng ghi rõ Samsung sẽ hỗ trợ các cử chỉ điều khiển nhờ vào camera này. Lấy ví dụ khi bạn vẫy tay hay thực hiện một cử động nào đó thì đồng hồ sẽ thực thi các thao tác được cài đặt sẵn. Đây chính là lý do Samsung sẽ đưa camera xuống thấp hơn so với Gear hiện tại, giúp chúng ta đỡ bị mỏi tay hơn khi điều khiển cử chỉ.