Kết quả của bằng sáng chế về công nghệ mắt người có thể được ứng dụng thực tiễn trong việc tạo ra những chiếc kính Apple Glasses.
Các nhà phân tích của Wall Street Jourrnal đồn đoán rằng Apple đang phát triển một thiết bị mà tương lai của nó còn lớn hơn nhiều những chiếc iPhone. Đó là dự án về những chiếc kính AR với tên gọi Apple Glasses.
![]() |
| Ảnh minh họa một chiếc Apple AR Glasses. |
Trước đó, Phó chủ tịch Quanta, công ty đối tác sản xuất Apple Watch cho rằng một thiết bị đeo được hoàn toàn mới có thể được Apple ra mắt ngay cuối năm 2018. Thiết bị này có tên mã T2888. Nó sử dụng hệ điều hành thực tế ảo rOS.
Về phần mình, Apple chưa bao giờ xác nhận về sự tồn tại của một thiết bị như vậy, thậm chí cả việc họ có quan tâm tới công nghệ kính AR. CEO Tim Cook của táo khuyết từng phát biểu trên truyền thông rằng, công nghệ hiện tại không đủ tốt để cho ra đời một sản phẩm như vậy.
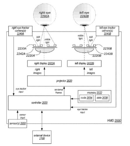
![]() |
| Ảnh mô phỏng về bằng sáng chế mới của Apple. |
Có một điều bất ngờ là chỉ ít ngày sau tuyên bố của Tim Cook, Apple đã đệ trình một bằng sáng chế về công nghệ giúp theo dõi hoạt động của mắt người. Bằng sáng chế về “hệ thống theo dõi mắt" này giúp phát hiện chuyển động và vị trí của mắt người nhờ màn hình được gắn trên đầu người sử dụng.
| Công nghệ này theo dõi cử động của mắt người nhờ việc phát và nhận các tia hồng ngoại. |
Camera sẽ được kết hợp cùng công nghệ quang phổ hấp phụ cận hồng ngoại (NIR) để theo dõi cử động của con mắt. Tia hồng ngoại từ nguồn phát đến mắt người và hình thành tia phản xạ. Hệ thống sẽ tiến hành theo dõi tia phản xạ trả về để biến thành cơ sở dữ liệu. Điều này cho phép hệ thống có thể theo dõi nhất cử nhất động của mắt người sử dụng.
Do chỉ mới tồn tại ở mức bằng sáng chế, khó có thể đảm bảo rằng công nghệ này sẽ sớm có mặt trên một sản phẩm thực sự được bán ra thị trường. Mặc dù vậy, khó có thể phủ nhận tầm quan trọng của bằng sáng chế này đối với tương lai của công nghệ AR.
Tuấn Nghĩa (Theo Phonearena)

Cận cảnh iPhone 8 Plus đỏ đẹp long lanh vừa về VN
Đây là chiếc iPhone 8 Plus đỏ đầu tiên xuất hiện tại Việt Nam. Máy được nhập về theo dạng hàng xách tay với mức giá hơn 20 triệu đồng.

iPhone 8 Plus đỏ vừa về Việt Nam, giá rẻ hơn hàng chính hãng
Dù chỉ vừa ra mắt tại thị trường quốc tế, những chiếc iPhone 8 Plus đỏ đã ngay lập tức xuất hiện tại Việt Nam. Lần này, những chiếc iPhone đã không còn bị thổi giá.

Xẻ iPhone 8 làm nhẫn, bán giá nghìn USD
Để tạo ra chiếc nhẫn độc đáo, một anh chàng đã không ngần ngại 'xẻ' chiếc iPhone 8 mới coóng làm nguyên liệu chế tác.

Apple quyết định sẽ không có iPhone 11
iPhone 11 sẽ không tồn tại. Điều này là bởi Apple sẽ không tiếp tục đặt tên theo kiểu đếm số cho iPhone. Thay vào đó là một quy tắc mới.

Tin mới nhất: iPhone 2018 sẽ hỗ trợ bút iPen?
Suốt nhiều năm qua, Apple không đưa ra cây bút nào hỗ trợ cho iPhone giống như dòng Galaxy Note của Samsung. Nhưng với iPhone 2018 có thể sẽ khác.

