Apple được cho là có thể sớm cải tiến diện mạo của đồng hồ thông minh mang thương hiệu Táo khuyết sau khi hãng nhận bằng một sáng chế mới về thiết bị đeo sở hữu mặt tròn khác hẳn hiện tại.
![]() |
|
Một bằng sáng chế mới của Apple mô tả thiết bị điện tử sở hữu màn hình hiển thị tròn. Ảnh: US Patens and Trademark Office |
Trong thế giới chiếm đa số là đồng hồ mặt tròn, Apple từng khiến nhiều người ngạc nhiên khi sử dụng thiết kế mặt vuông cho các mẫu đồng hồ thông minh thế hệ đầu tiên của hãng.
Với Apple Watch đời đầu, ra mắt vào tháng 4/2015 và Apple Watch 2 vừa trình làng cùng iPhone 7/7 Plus hồi tháng 9 vừa qua, Táo khuyết dường như vẫn nhất quyết trung thành với kiểu mặt đồng hồ góc cạnh, tạo sự khác biệt. Tuy nhiên, bằng sáng chế mới nhan đề "Thiết bị điện tử sở hữu màn hình hiển thị có các gờ uốn cong" ám chỉ, công ty có thể đã thay đổi quan điểm.
Mặc dù Apple sẽ không phải là nhà sản xuất đầu tiên tung ra đồng hồ thông minh mặt tròn, nhưng trước đây công ty thường lên tiếng phản đối kiểu thiết kế mặt truyền thống này. "Khi chức năng chính (của đồng hồ thông minh) là hiển thị các danh sách thì mặt tròn chẳng có ý nghĩa gì", Jony Ive, "trùm" thiết kế của Apple, tuyên bố trên tờ The New Yorker hồi năm ngoái.
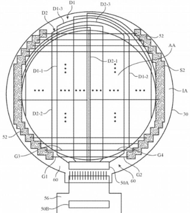
Không giống sản phẩm đồng hồ thông minh của các hãng khác, chẳng hạn như Moto 360, các mẫu Apple Watch hiện nay sử dụng toàn bộ màn hình để hiển thị hình ảnh.
Trong bằng sáng chế mới, các kỹ sư của Apple giải thích: "Các mảng điểm ảnh thường có dạng vuông góc. Tuy nhiên, các mảng điểm ảnh vuông góc sẽ khó xếp vừa vặn bên trong một thiết bị có hình tròn. Ở các mặt hiển thị hình tròn có thể tồn tại những vùng bị thắt cổ chai, trong đó, các đường tín hiệu trở nên quá đông đúc, dẫn tới việc sử dụng thiếu hiệu quả diện tích hiển thị".
![]() |
|
Hình mô phỏng Apple Watch mặt tròn. Ảnh: Apple Insider |
Theo các kỹ sư của Apple, giải pháp cho vấn đề trên là sắp xếp một mảng điểm ảnh theo cột và hàng với chiều dài khác nhau. Họ cũng đề xuất uốn gập các dòng dữ liệu, buộc chúng phải đi qua 2 hoặc nhiều cột điểm ảnh hơn. Giải pháp này không chỉ tiết kiệm được không gian và giảm sự đông đúc bên trong đồng hồ, mà còn đưa các điểm ảnh vào vùng hoạt động tích cực.
Do Apple đang phải đối mặt với nhiều chỉ trích vì quyết định sử dụng mặt hiển thị vuông cho đồng hồ thông minh, nhiều khả năng đại gia công nghệ này sẽ hiện thực hóa phát minh trên bằng một mẫu Apple Watch mặt tròn trong tương lai.
Tuấn Anh (Theo Daily Mail)

