Cục thương hiệu và bản quyền sáng chế Mỹ (USPTO) vừa chính thức cấp cho Apple bằng sáng chế về một loại điện thoại di động toàn kính, chống nước và có màn hình uốn quanh thân máy. Táo khuyết đã đệ đơn xin cấp bằng sáng chế này từ tháng 4/2014.
![]() |
| Ảnh mô phỏng smartphone trong bằng sáng chế USPTO mới cấp cho Apple. |
Mặc dù các bằng sáng chế không phải lúc nào cũng được hiện thực hóa thành sản phẩm, nhưng chúng ít nhất cũng cho chúng ta biết về công nghệ trong tương lai có thể như thế nào. Vì vậy, hãy thử xem các thế hệ thiết bị di động tương lai của Táo khuyết có thể được trang bị những điểm cải tiến hấp dẫn gì.
Bằng sáng chế mới nhận của Apple đề cập tới một mẫu smartphone sở hữu toàn kính, có một số phần hoặc toàn bộ thân trong suốt hoặc ít nhất trong mờ. Vỏ máy có thể được hình hành từ một ống kím loại rỗng nguyên khối hoặc hai mảng kính ghép với nhau và được gắn chặt để tạo nên thiết bị chống nước. Hai đầu của máy được bịt kín bằng các mũ chụp đặc biệt.

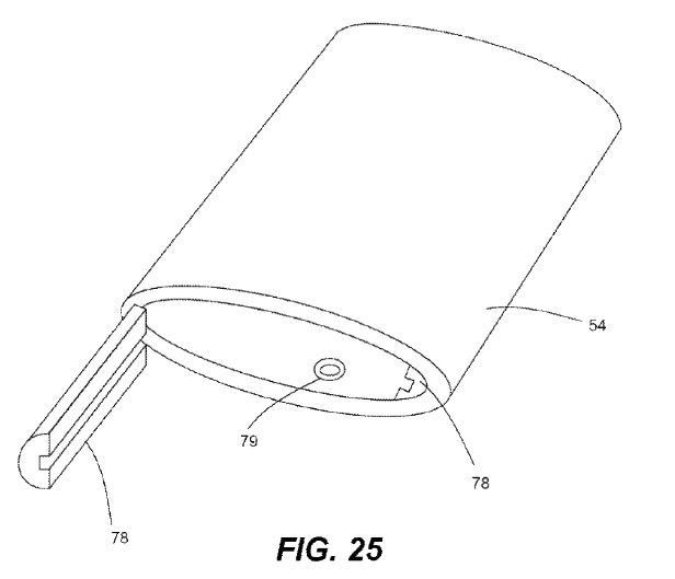
Một điểm thú vị khác trong bằng sáng chế là hệ thống thanh ray bên trong như mô tả trong bức hình dưới đây. Thiết kế kiểu này gợi nhắc một chiếc iPod Nano thế hệ thứ 4 hoặc thứ 5. Điểm giống nhau nhất giữa chúng là thiết kế nguyên khối hình oval với thân uốn cong.
Các iPod Nano thế hệ thứ 4 và thứ 5 cũng như những mẫu iPod cũ hơn sử dụng thiết kế hệ thống thanh ray, có 2 đường rãnh nằm dọc phần phía trong hai bên của lớp vỏ, cho phép tháo lắp hoặc gắn tất cả các thành phần bên trong một cách dễ dàng. Mọi thứ, ngoại trừ màn hình LCD, đã được sắp xếp song song, thuận tiện cho việc tháo rời phần cứng bên trong. Các mẫu iPod cũ cũng có mũ che kín hai đầu khá giống những gì được mô tả trong bằng sáng chế về điện thoại di động tương lai của Apple.
Đây không phải là lần đầu tiên chúng ta nhìn thấy thiết kế kiểu này xuất hiện trong các kế hoạch sản phẩm tương lai của Apple. Một đơn xin cấp bằng sáng chế khác từ năm tháng 9/2011 cũng mô tả một mẫu smartphone có thiết kế tương tự, ngoại trừ việc thân của nó ít vát hình oval hơn.
Hiện chúng ta vẫn chưa thể biết liệu một trong các thế hệ iPhone tương lai cuối cùng có sở hữu vẻ ngoài giống một chiếc iPod Nano quá cỡ hay giống hệt thiết kế mô tả trong bằng sáng chế mới nhận của Táo khuyết hay không. Song, chúng ta có thể nói chắc chắn ở thời điểm này rằng, các mẫu iPhone năm nay sẽ không dựa vào thiết kế này.
Tuấn Anh (theo Phonearena)
|
XEM THÊM
|




