Một hồ sơ bản quyền Apple được cấp mới đây cho thấy hãng này đang nghiên cứu phát triển thân máy dẻo cho các thiết bị của mình.
![]() |
|
Một concept iPhone, iPad cong. |
Một hồ sơ sáng chế Apple được phê duyệt mới đây mô phỏng một thân máy có thể bẻ cong cho các thiết bị chạy iOS. Theo mô tả, các thiết bị được trang bị thân máy này, ví dụ như iPhone, có thể được bẻ cong hoặc thậm chí bẻ gập mà không làm ảnh hưởng đến các linh kiện, thành phần bên trong. Để biến hồ sơ sáng chế nêu trên thành sự thật, Apple sẽ cần dùng một số chất liệu như nhựa dẻo hoặc sợi composite thay vì nhôm như hiện nay.
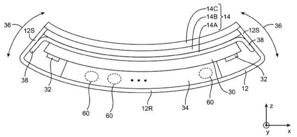
![]() |
|
Bản vẽ mô phỏng sáng chế Apple mới được phê duyệt mới đây. |
Hồ sơ bản quyền nêu trên còn nhắc đến việc Apple đang nghiên cứu phát triển pin dẻo cho thiết bị. Được biết, những hồ sơ bản quyền này có thể cho phép Apple sản xuất các thiết bị có màn hình lớn hơn trong tương lai do có thể gập gọn để tăng tính di động.
![]() |
|
Pin dẻo còn có thể được ứng dụng trong các thiết bị mang mặc như Apple Watch. |
Đây không phải lần đầu tiên Apple cho thấy sự quan tâm của mình trong lĩnh vực nghiên cứu và phát triển thiết bị có độ linh hoạt cao. Trước đó, trong vài năm trở lại đây "táo khuyết" cũng đã tiến hành đăng ký một số sáng chế liên quan đến màn hình có thể bẻ cong.
Theo Trí thức trẻ/Cult of Mac


