
Theo đó, Apple gần đây đã nộp đơn lên Văn phòng Bằng sáng chế và Thương hiệu Hoa Kỳ (USPTO) cho một bằng sáng chế có tên là “Thiết bị điện tử dùng màn hình có thể gập lại”. Tuy nhiên, cũng giống như tất cả các bằng sáng chế khác, không có gì đảm bảo rằng nó sẽ trở thành hiện thực.

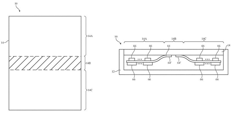
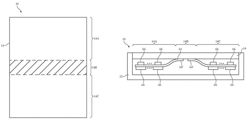
Trong bằng sáng chế này, Apple sẽ tích hợp một cảm biến nhiệt độ để phát hiện nhiệt độ của màn hình, điều này sẽ giúp điện thoại có thể đưa ra những cảnh báo, tăng độ bền của màn hình gập. Thật khó để nói liệu Apple có phát hành iPhone màn hình gập hay không, nhưng một nhà phân tích tại Bank of America - Merrill Lynch, nói rằng Apple không ra mắt iPhone màn hình gập trước năm 2020.
Hiện tại, Huawei đã ra mắt Mate X, Samsung đã trình làng Galaxy Fold, cả 2 đều là smartphone màn hình gập độc đáo. Ngoài ra, OPPO, Xiaomi, Motorola và TCL cũng đang phát triển smartphone màn hình gập.