Apple vừa được Cơ quan sáng chế và nhãn hiệu hàng hoá Mỹ (USPTO) cấp cho 2 bằng sáng chế mới, trong đó có một bằng sáng chế về màn hình uốn dẻo.

Apple đã nhận được bằng sáng chế Mỹ có số hiệu 9.367.095 cho "Thiết bị điện tử có màn hình uốn vòng quanh". Công nghệ này được mô tả là trang bị một màn hình AMOLED cỡ lớn cho thiết bị nguyên khối. Cũng giống như các mẫu smartphone đang được Lenovo và Samsung phát triển, màn hình này có tính mềm dẻo cao và có thể uốn cong quanh toàn bộ thiết bị.

Công nghệ nhận diện khuôn mặt cũng được sử dụng để smartphone biết chính xác người dùng đang nhìn vào phần nào của màn hình điện thoại. Ngoài ra, màn hình cũng được thiết kế nhiều lớp để tạo ra hiệu ứng 3D.
Bằng sáng chế nói trên được đệ trình lên USPTO lần đầu tiên vào tháng 4/2015, với tên nhà sáng chế là Scott A. Myers.

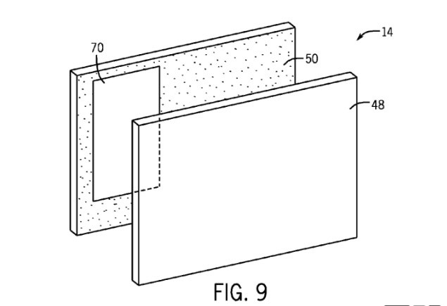
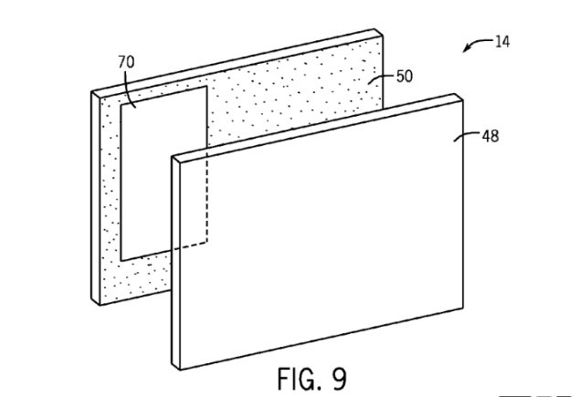
Bằng chế thứ hai, mang số hiệu 9.367.093 trao cho Apple có liên quan đến màn hình tăng cường thực tế ảo trên thiết bị di động. Công nghệ này cho phép một màn hình số cấu tạo gồm một hoặc nhiều lớp màn hình cảm ứng đặt trên một màn hình khác để hiển thị các hình ảnh đời thực.

Tương tự như các thiết bị tăng cường thực tế ảo khác, người dùng sẽ nhìn thấy thông tin về các địa điểm hoặc vật thật trong môi trường của họ. Chẳng hạn như, tại một bảo tàng, màn hình có thể hiển thị thông tin về một bức tranh mà người dùng đang ngắm nhìn qua thiết bị.
Bằng sáng chế có tên "Thiết bị điện tử trong suốt" nói trên được đề trình lên USPTO từ tháng 11/2014. Tên nhà phát mình được đề cập đến là Aleksandar Pance.
Tuấn Anh (Theo Phonearena)