Apple vừa để lộ một bằng sáng chế cho thấy những chiếc iPhone, iPad trong tương lai có thể trang bị nút vặn giống như Apple Watch.

Apple đã đưa tính năng cảm ứng lực từ Apple Watch lên Apple và phát triển thành công nghệ gọi là 3D Touch. Sau thành công của quyết định này, Apple đang có ý định tiếp tục vay mượn một tính năng khác trên Apple Watch để trang bị cho các thế hệ iPhone và iPad tiếp theo.
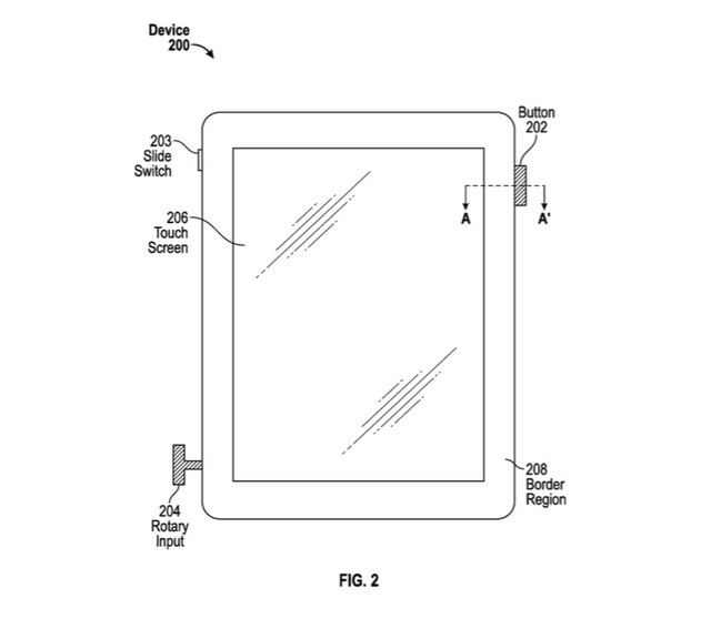
Digital Crown là một trong những tính năng quan trọng nhất trên Apple Watch. Đây là một nút xoay sử dụng để phóng to, thu nhỏ, cuộn lên xuống. Bạn cũng có thể nhấn nút Digital Crown để trở về màn hình chủ.

Hiện tại, Digital Crown là đối tượng của một bằng sáng chế khác từ Apple được sử dụng cho các thiết bị không phải là Apple Watch như iPhone hay iPad.
Dự kiến, nút Digital Crown trên iPhone, iPad sẽ có tác dụng tăng giảm âm lượng, thay đổi kích thước văn bản, khóa màn hình cảm ứng hoặc mở một bức ảnh.
Ngoài ra, phần mô tả của ứng dụng còn cho biết: "Trong một số ví dụ, các thiết bị có thể không có khu vực giới hạn mà tất cả chỉ là màn hình cảm ứng". Điều này cũng tương ứng với các tin đồn gần đây cho rằng thế hệ iPhone 2017 sẽ có màn hình edge-to-edge (không có đường viền).
Nhiều khả năng một nút cảm ứng (có thể là nút Home) với Touch ID sẽ được tích hợp vào màn hình iPhone 2017 nhưng để trang bị thêm công nghệ Digital Crown trên thiết bị này đòi hỏi một giải pháp kỹ thuật phức tạp hơn nhiều. Apple nộp đơn cho bằng sáng chế này từ Quý 1/2014 nhưng việc nó có xuất hiện trên những chiếc iPhone 2017 vẫn đang là một câu hỏi chưa có lời đáp.
Theo Trí thức trẻ/PhoneArena
