Một bằng sáng chế mới cấp cho một công ty công nghệ tăng cường thực tại ảo (AR) hé lộ, Apple đang ấp ủ việc cho ra đời một mẫu kính thông minh chỉ cần huơ ngón tay trước các mắt kính để điều khiển.

Tổng giám đốc điều hành (CEO) Apple Tim Cook không giấu giếm chuyện ông là một "fan bự" của công nghệ AR. Tỉ phú công nghệ này đã nhiều lần đề cập đến khả năng AR biến đổi cuộc sống của con người như cách smartphone từng làm được trước đây.
Kể từ tháng 3 năm nay, trong dư luận xuất hiện các đồn thổi rằng, Apple đang lên kế hoạch "đưa công nghệ AR tiếp cận số đông công chúng" thông qua những ứng dụng iPhone và các loại kính thông minh giá cả phải chăng. Một bằng sáng chế mới cấp chứng tỏ, Táo khuyết thực sự chú trọng đầu tư nghiêm túc cho công nghệ này.
![]() |
| Hình mô phỏng mẫu kính thông minh ứng dụng công nghệ AR của công ty Metaio. Ảnh: Apple |
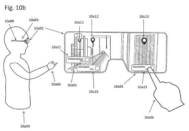
Bằng sáng chế có đoạn mô tả về cách ứng dụng AR cho điện thoại và kính thông minh như sau: "Công nghệ này đặc biệt hữu dụng khi sử dụng một thiết bị hiển thị đeo trên đầu (HMD), cấu tạo gồm camera và màn hình ... Thiết bị này có thể không đòi hỏi người dùng chạm tay vào màn hình điều khiển giống như với màn hình cảm ứng. Thay vào đó, camera chuyên dùng để chụp lại hình ảnh môi trường thực cũng có thể được dùng để phát hiện các vị trí của ngón tay người dùng trong ảnh. Vị trí của ngón tay người dùng có thể tương đương với các điểm chạm trên màn hình cảm ứng ... để điều khiển".

Hồ sơ xin cấp bằng sáng chế nói trên đã được đệ trình lên nhà chức trách Mỹ từ tháng 4, nhưng chỉ vừa được phê chuẩn cuối tuần qua.
Đây là sáng chế của công ty phát triển phần mềm AR Metaio. Apple đã thâu tóm Metaio từ tháng 5/2015 sau khi công ty này phát triển công nghệ Thermal Touch, một cách kích hoạt các tác vụ trong nội dung số thông qua mức nhiệt độ của ngón tay người dùng. Nhiều bằng sáng chế khác của Metaio sau đó cũng thuộc về Apple và công ty được tin là tác giả của ARKit, nền tảng phát triển để xây dựng ứng dụng thực tế ảo bổ trợ cho iPhone và iPad.
Hồi tháng 2 vừa qua, hãng thông tấn Bloomberg từng đăng tải một báo cáo ám chỉ Apple đang âm thầm theo đuổi dự án phát triển một mẫu kính thông minh như phụ kiện đi kèm iPhone. "Mặc dù vẫn còn trong giai đoạn nghiên cứu, nhưng thiết bị sẽ kết nối không dây với iPhone, biểu thị các hình ảnh và thông tin khác trong trường quan sát của người đeo kính và có thể sử dụng công nghệ AR", trích báo cáo của Bloomberg.
Tuấn Anh (Theo Daily Mail)
