Với việc gia nhập cuộc đua của LG, có thể thấy điện thoại màn hình gập sẽ là xu hướng chủ đạo của thị trường smartphone những năm tới.
Từng có thông tin Samsung, Huawei và Motorola sẽ sản xuất những mẫu smartphone có thể gập đôi. Giờ đây, những tin tức mới nhất cho thấy LG là công ty kế tiếp theo đuổi mục tiêu này. Điều đó đã được chứng minh thông qua một bằng sáng chế mà công ty này vừa sở hữu.
| Bản vẽ mẫu điện thoại trong bằng sáng chế của LG. |
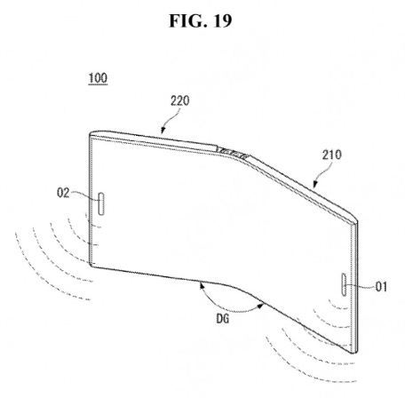
Bằng sáng chế của LG được đệ trình lên Phòng Sáng chế và Nhãn hiệu Hoa Kỳ hồi cuối năm 2017. Nó miêu tả một thiết bị điều cuối với màn hình có khả năng uốn cong. Máy sẽ có thể gập đôi lại theo chiều dọc của màn hình nhờ hệ thống bản lề bao gồm 4 liên kết. Theo GSMarena, cơ chế hoạt động của bản lề này tương tự với những gì từng xuất hiện trên chiếc Surface Book của Microsoft.
| Đây là một mẫu điện thoại với màn hình có khả năng gập đôi lại. |
Chiếc điện thoại của LG sẽ có 2 micro, loa kép và anten kép. Một camera sẽ được bố trí ở phía ngoài để người dùng có thể chụp ảnh ngay cả khi gập đôi màn hình. Tấm nền màn hình này có thiết kế nhỏ hơn và có thể tự động bật khi mở và tắt khi gập máy.
| Chi tiết bản lề cho thấy cấu tạo của mẫu điện thoại này. |
Khá đáng tiếc khi bằng sáng chế của LG không miêu tả chi tiết cách người dùng tương tác với thiết bị này. Tuy vậy, với việc gia nhập cuộc đua của LG, có thể thấy những chiếc điện thoại màn hình gập sẽ là xu hướng chủ đạo của thị trường smartphone những năm tới.
Tuấn Nghĩa (Theo GSMarena)

LG V40 có tới 5 camera: 3 phía sau và 2 phía trước
Nếu điều này là chính xác, LG V40 sẽ trở thành một trong những mẫu smartphone có 5 camera đầu tiên trên thế giới.
LG G7+ ThinQ đầu tiên về VN: màn hình “tai thỏ”, giá 19 triệu
LG G7+ ThinQ đánh dấu sự trở lại mạnh mẽ của thương hiệu LG sau một thời gian dài im tiếng trên thị trường di động. G7+ ThinQ cũng là mẫu smartphone được giới chuyên môn đánh giá rất cao.

iPhone 9 sẽ dùng màn hình của LG G7?
Apple dự kiến sẽ dùng công nghệ LCD mới của màn hình LG G7 ThinQ cho một trong 3 mẫu iPhone được ra mắt cuối năm nay.

Ảnh chính thức LG G7: Camera kép cùng màn hình tai thỏ
LG G7 là chiếc điện thoại cao cấp nhất của LG trong năm nay. Đây cũng là mẫu máy chứng kiến sự thay đổi mạnh của LG về thiết kế.