Theo bằng sáng chế vừa được Samsung nộp lên Văn phòng nhãn hiệu và bằng sáng chế Mỹ (USPTO), thay đổi lớn nhất trên phiên bản Galaxy Note có thể nằm ở chiếc bút S-Pen đi kèm.
![]() |
| Bút S-Pen sắp có camera? Ảnh: PhoneArena. |
Dường như Samsung sẽ có cách giải quyết vấn đề đặt camera trước rất đặc biệt. Không cần màn hình khuyết, màn hình trượt hay màn hình đục lỗ, camera selfie của Galaxy Note sẽ đặt vào bút S-Pen.
Theo hình vẽ đính kèm, trên thân bút sẽ có nút điều khiển chụp ảnh, một nút khác để zoom. Sơ đồ mô tả để lộ nơi đặt một cảm biến và một ống kính. Mặc dù việc thêm camera vào S-Pen sẽ gia tăng sức mạnh cho phụ kiện này, rất khó tin nếu Samsung loại bỏ hẳn camera trước trên thân máy.
Khả năng cao hơn là S-Pen có thể được sử dụng như một thiết bị chụp ảnh độc lập với Galaxy Note. Nó sẽ có tác dụng trong vài tình huống cụ thể nào đó, hoặc phục vụ cho tính năng hoàn toàn mới mà Samsung sẽ trang bị cho chiếc Galaxy Note tiếp theo.
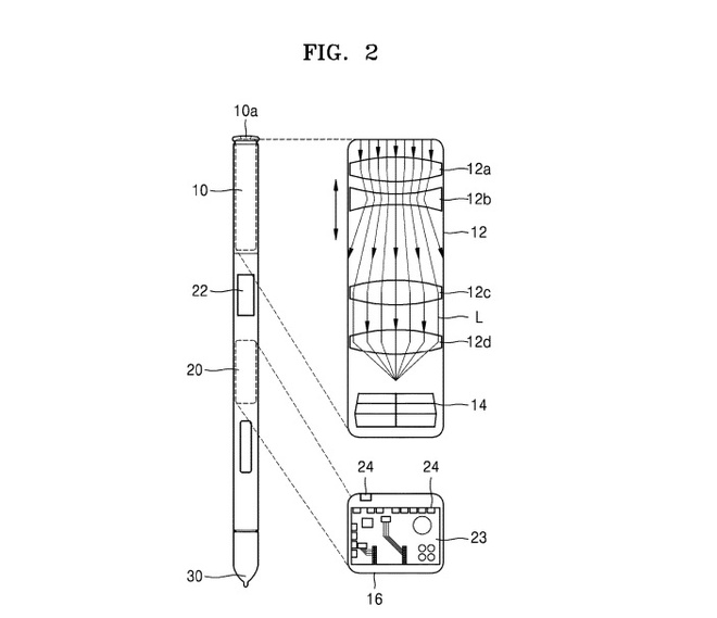
![]() |
| Bản mô tả thiết kế bút S-Pen mới. Trong đó vị trí số 12 là ống kính quang học và 14 là cảm biến hình ảnh. Ảnh: USPTO. |
Cùng với Galaxy S, Galaxy Note là dòng smartphone cao cấp chủ lực của Samsung. Ra mắt từ năm 2011 với màn hình ngoại cỡ, dòng Galaxy Note đã dần khẳng định vị thế của mình trên thị trường, đồng thời góp phần không nhỏ trong việc xúc đẩy sự phát triển của xu thế smartphone màn hình lớn.
Kích thước lớn cho phép Galaxy Note mang đến trải nghiệm rất tốt khi xem phim, lướt web, chơi game, sử dụng mạng xã hội và phục vụ một số công việc. S-Pen đi kèm cũng là một phụ kiện độc đáo mà những smartphone khác không có được.

