Cả Samsung và Apple đều đang ấp ủ ý tưởng trang bị tính năng sạc không dây cho các mẫu điện thoại flagship sắp ra mắt Galaxy S8 và iPhone 8. Song, Sony dường như đang âm thầm qua mặt hai đối thủ lớn này bằng một công nghệ mới, giúp một smartphone có thể sạc không dây cho một smartphone khác.

Theo một ứng dụng sáng chế mới công bố, Sony có vẻ đang theo đổi một tính năng không dây "độc, lạ" cho tương lai, cho phép sạc điện và trao đổi dữ liệu giữa nhiều thiết bị điện tử khác nhau như smartphone, máy tính và bất kỳ thiết bị thông minh nào khác. Điều này đồng nghĩa, bạn có thể sớm dùng smartphone của bạn bè để sạc không dây cho dế cưng của mình.

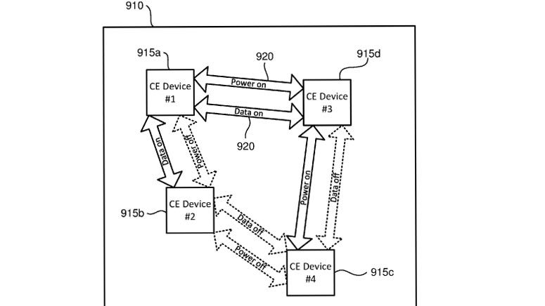
Bằng sáng chế của Sony cho thấy, công nghệ tân tiến trên sẽ dựa vào nhiều hệ thống ăng-ten được thiết kế riêng cho việc truyền tải điện năng và dữ liệu không dây, đi kèm một giao diện người dùng có các đồ họa đơn giản, giúp đơn giản hóa quá trình kết nối các thiết bị. Ngoài khả năng chọn truyền điện năng hay dữ liệu, giao diện cũng sẽ giúp việc chọn thiết bị tham gia quá trình trao đổi không dây này dễ dàng hơn.

Hiện vẫn chưa rõ, tính năng không dây đang phát triển của hãng công nghệ Nhật sẽ hỗ trợ khoảng cách bao xa. Tuy nhiên, theo nguồn tin rò rỉ, các thiết bị khác nhau có khả năng truyền dữ liệu và sạc không dây ở những khoảng cách khác nhau, tùy thuộc vào phương thức sử dụng như kết nối qua Wi-Fi, Bluetooth hay giao tiếp tầm ngắn (NFC).
Tương tự như các trường hợp sáng chế khác, hiện chúng ta chưa thể biết khi nào hoặc liệu Sony có phát hành công nghệ tiên tiến trên ra thị trường hay không. Cho đến khi nó trở thành hiện thực, tất cả chúng ta sẽ luôn phải dựa vào sạc, hệ thống cáp nối sạc giữa 2 smartphone với nhau hoặc pin dự phòng để bảo đảm nguồn điện năng cần thiết cho dế cưng của mình.
Tuấn Anh (theo The Next Web)