Theo báo cáo của Popular Science, hãng Boeing đã đăng ký được bằng sáng chế cho một công nghệ có khả năng tạo ra lá chắn vô hình bằng trường lực.
Theo báo cáo của Popular Science, hãng Boeing đã đăng ký được bằng sáng chế cho một công nghệ có khả năng tạo ra lá chắn vô hình bằng trường lực, một loại trường lực mà chúng ta đã từng thấy trong các bộ phim viễn tưởng như Star War.

Tuy nhiên công nghệ mà Boeing đang nghiên cứu không viễn tưởng như những gì chúng ta thấy trong phim. Trên thực tế nó không phải một tấm lá chắn mà có thể ngăn cản súng đạn, tên lửa hay tia laser năng lượng cao. Thay vào đó, công nghệ này sẽ có khả năng bảo vệ những chiếc xe khỏi áp lực và nhiệt độ của một vụ nổ lớn ở khoảng cách gần.
|
|
|
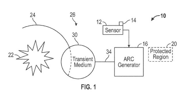
Mô tả nguyên tắc hoạt động của hệ thống này, do Boeing đăng ký bằng sáng chế. |
Với các cảm biến và bộ xử lí với tốc độ cao, hệ thống lá chắn sẽ có thể phát hiện các vụ nổ ở gần chiếc xe trong khoảng thời gian ngắn. Sau đó nó sẽ làm nóng khoảng không khí giữa chiếc xe và vụ nổ đó, nhiệt độ cao sẽ làm mật độ không khí trở nên dày đặc hơn và trở thành một tấm lá chắn vô hình. Nó sẽ giúp bảo vệ chiếc xe khỏi áp lực và nhiệt độ cao của vụ nổ.
![]() |
|
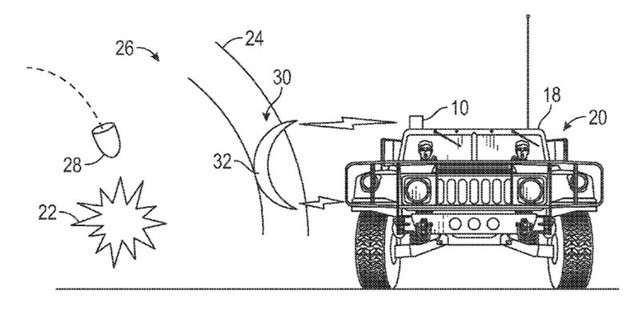
Công nghệ này sẽ sớm được trang bị trên các loại xe cơ giới trong quân đội. Nó sẽ bảo vệ những chiếc xe khỏi các vụ nổ ở khoảng cách gần. |
Boeing cho biết công nghệ này cũng có thể sử dụng trong môi trường nước. Tuy nhiên hạn chế của nó chỉ là bảo vệ và ngăn cản được áp lực ở một mức độ nhất định. Hãng này cũng cho biết sẽ sớm thử nghiệm công nghệ này trong thực tế và ứng dụng nó vào những chiếc xe cơ giới trong quân đội.
Theo Trí thức trẻ/Businessinsider


