Trong một tài liệu đề ngày 15/6, Cục thương hiệu và bản quyền sáng chế Hoa Kỳ (USPTO) đã công bố một hồ sơ đăng ký sáng chế của Samsung hồi tháng 12/2016. Tài liệu này mô tả một loại ốp điện thoại mới, có thể khiến bất kỳ người hâm mộ Samsung nào thích thú, đặc biệt là những người đang sở hữu một chiếc đồng hồ thông minh Gear.

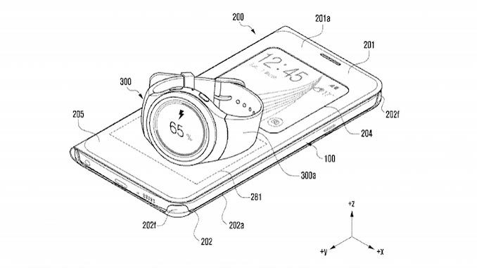
Theo tài liệu, ốp điện thoại mới của Samsung có thể sạc không dây cho một thiết bị đeo khi sản phẩm này được đặt phía trên nó. Loại phụ kiện mới sử dụng công nghệ sóng mi-li-mét hay còn gọi là sóng tần số cực cao (EHF), cho phép truyền năng lượng và dữ liệu.

Không chỉ cho phép sạc không dây cho đồng hồ thông minh Samsung Gear, ốp điện thoại nói trên còn có thể tích hợp với các dịch vụ và ứng dụng đa phương tiện. Hồ sơ đăng ký sáng chế của Samsung đã đề cập đến khả năng truyền dữ liệu và kiểm soát thiết bị đeo thông qua phần không che kín của ốp điện thoại, nơi người dùng có thể xem thông tin hoặc thực hiện các tác vụ thông qua màn hình máy.

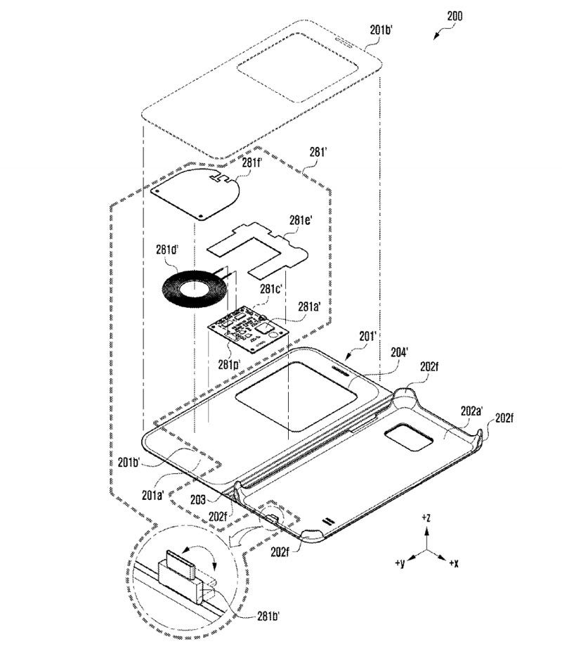
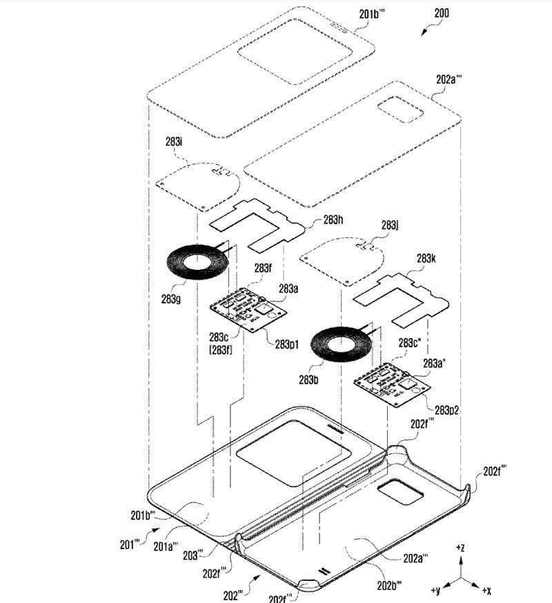
Phần sau của ốp điện thoại chứa một cuộn truyền điện và một cổng USB-C kết nối phụ kiện này với smartphone. Mặt trước của ốp điện thoại có gắn một vi xử lý kiểm soát điện không dây và một bộ chuyển đổi DC - AC, giúp chuyển dòng điện một chiều (DC) từ pin thành dòng điện xoay chiều (AC) như điện lưới.

Đáng chú ý, chỉ một ngày trước khi hồ sơ đăng ký sáng chế của Samsung được công bố, Apple cũng được cấp một bằng sáng chế tương tự. Tuy nhiên, bằng sáng chế USPTO cấp cho Táo khuyết nêu, ốp điện thoại mới này chỉ sạc không dây được cho iPhone và không đề cập đến sự tương thích với đồng hồ thông minh Apple Watch.

Dù trong trường hợp nào, các chuyên gia khuyến cáo, người dùng không nên quá kỳ vọng vào việc các loại ốp điện thoại trên sẽ sớm trình làng. Lí do vì, không phải bằng sáng chế nào cũng được hiện thực hóa thành sản phẩm thương mại. Song, chúng chứng tỏ các tên tuổi lớn trên thế giới đang rất quan tâm phát triển công nghệ sạc không dây sau nhiều năm tìm tòi, nghiên cứu.
Tuấn Anh (theo Phonearena)