Từng được coi là sản phẩm lớn nhất của Apple sau iPhone, thế nhưng Táo khuyết đã phải bỏ dở dự án kính thông minh của mình. Với Samsung, nhà sản xuất Hàn Quốc không từ bỏ dự án của mình dễ dàng như vậy.
Theo Phonearena, Samsung vừa nộp đơn xin cấp bằng sáng chế về một mẫu kính AR lên văn phòng Bằng sáng chế và thương hiệu Hoa Kỳ.
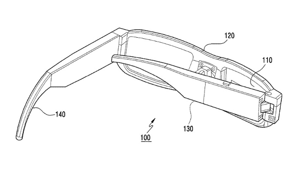
![]() |
| Hình Ảnh về mẫu kính thông minh trong bằng sáng chế của Samsung. |
Theo đó, chiếc kính thông minh này sẽ có một máy chiếu được đặt ở phần khung của chiếc kính. Nó sẽ chiếu hình ảnh lên một màn hình ảnh nhỏ ở ngay trên mắt kính. Bộ khung của chiếc kính này tương đối đầy đặn do phải chứa các linh kiện điện tử. Mẫu kính thông minh do Samsung sản xuất nhiều khả năng sẽ sử dụng bộ xử lý dựa trên nền tảng kiến trúc ARM.
![]() |
| Hình ảnh sẽ được một máy phát chiếu lên phần mắt kính. |
Mẫu kính của Samsung có nhiều nét tương đồng với sản phẩm trong dự án Moniterless. Samsung từng phát hành video về Moniterless cách đây chỉ một vài năm. Trong dự án này, chiếc kính thông minh có khả năng kết nối với điện thoại Samsung thông qua sóng WiFi và với PC bằng tín hiệu di động. Nhờ vậy, màn hình của chiếc điện thoại hay PC sẽ hiện ra ngay trên mắt kính.
![]() |
| Do chứa nhiều linh kiện điện tử, phần gọng của chiếc kính này trông khá thô và dày dặn. |
Google Glass là mẫu kính thông minh nổi tiếng nhất từ trước đến nay. Tuy vậy, Google Glass đã sớm phải gánh chịu thất bại khi Google không thể thực hiện lời hứa cung cấp các tính năng trong video giới thiệu về mẫu kính. Mức giá lên tới 1.500 USD cũng là một rào cản đối với người dùng.
Không chỉ vậy, Google Glass liên tục bị phản đối ở nhiều nơi. Các rạp chiếu phim cấm người dùng mang Google Glass vì lo ngại họ sẽ quay lén các bộ phim. Trong khi đó, một số quán bar cũng cấm mang chiếc kính của Google bởi họ không muốn khách hàng của mình bị chụp hình hay quay lén mà không xin phép.
Tuấn Nghĩa (Theo Phonearena)


