Với chính sách của Nhà nước khuyến khích phát triển nguồn điện từ năng lượng tái tạo, rất nhiều dự án nguồn ĐMT đã được triển khai đầu tư xây dựng, trong đó ĐMT áp mái là loại hình có khá nhiều ưu việt, có thể phát triển mạnh trong tương lai.
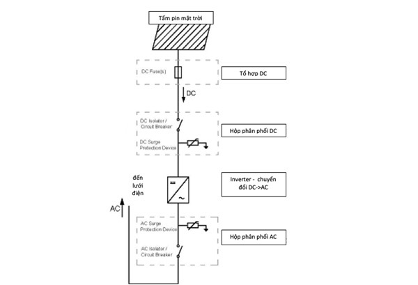
Điện mặt trời được lắp đặt với quy mô nhỏ trên mái nhà dân, tòa nhà thương mại, công xưởng, nhà máy... với quy mô vài kW tới MW được gọi là điện mặt trời áp mái (ĐMTAM), cấu tạo được minh họa đơn giản như sau:
![]() |
Các tấm pin mặt trời thông dụng có công suất khoảng 290 - 350Wp được thiết kế kiểu panel với kích thước 1956x992x50 mm, diện tích khoảng 1,9m2. Nếu diện tích mái nhà khoảng 20m2 thì có thể lắp đặt được 10 panel, công suất điện cực đại thu được khoảng trên 3 kWp, đủ dùng cho các thiết bị điện thông dụng trong một gia đình.
Ưu điểm của điện mặt trời áp mái:
- Không tốn diện tích đất;
- Giúp tăng cường chống nóng hiệu quả cho các công trình;
- Có quy mô nhỏ, lắp đặt phân tán nên được đấu nối vào lưới điện hạ áp và trung áp hiện hữu, không cần đầu tư thêm hệ thống lưới điện truyền tải;
- Được lắp đặt nhiều ở các mái nhà trong thành phố, KCN nên có tác dụng làm giảm quá tải lưới điện truyền tải từ các nguồn điện truyền thống, thường đặt ở xa các trung tâm đông dân;
- Với quy mô nhỏ, thích hợp để khuyến khích nhiều cá nhân, tổ chức tham gia đầu tư kinh doanh với vốn không lớn, đạt mục tiêu xã hội hóa nguồn vốn.
![]() |
Evn khuyến khích ĐMT áp mái
EVN đã và đang có nhiều hoạt động hỗ trợ, khuyến khích ĐMTAM: văn bản số 1337/ EVN-KD ngày 21/2/2018 và văn bản số 5113/EVN-KD ngày 9/10/2018 gửi các đơn vị thành viên đã có các hướng dẫn ban đầu tạo điều kiện cho các doanh nghiệp và tư nhân đầu tư phát triển ĐMTAM; chỉ đạo các đơn vị thành viên tiên phong thực hiện lắp đặt ĐMTAM trên mái các tòa nhà trụ sở, các công trình kỹ thuật...; tăng cường các hoạt động tuyên truyền quảng bá để người dân đầu tư ĐMTAM.
Cuối năm 2018, tại các công trình thuộc EVN đã có trên 3,2 MW công suất ĐMTAM được lắp đặt, trong đó: TCty Điện lực Hà Nội 52 kWp, TCty Điện lực miền Trung 352 kWp, TCty Điện lực miền Nam 1.985 kWp[1]. Cùng kỳ trên toàn quốc ước tính có 1.800 khách hàng lắp đặt được 30,12 MWp công suất ĐMTAM.
Tuy nhiên hiện đơn giá lắp đặt ĐMTAM còn cao, khoảng 20 - 23 triệu đồng cho mỗi kWp. Vì vậy, giá thành điện sản xuất ra cũng chưa cạnh tranh. Mặt khác, theo các điều tra khí tượng, khu vực miền Bắc và bắc Trung bộ có số giờ nắng ít hơn khu vực miền Nam Trung bộ và Tây Nguyên, hiệu quả đầu tư ĐMTAM tại đây còn thấp.
Đồng thời, do còn chậm có Thông tư hướng dẫn của cơ quan quản lý về các tiêu chuẩn kỹ thuật, cơ chế quy định cụ thể cho các nhà đầu tư (bên thứ 3) tham gia kinh doanh, cơ chế tài chính hỗ trợ cho người dân và doanh nghiệp đầu tư, nên quy mô phát triển ĐMT còn chưa tương xứng với tiềm năng.
Trong Hội thảo "Thúc đẩy phát triển ĐMTAM tại Việt Nam" ngày 27/2/2019, qua đánh giá kinh nghiệm triển khai các dự án ĐMTAM, EVN kiến nghị Chính phủ: khuyến khích các cơ quan, tổ chức thuộc các bộ ngành và UBND các tỉnh, thành phố lắp đặt ĐMTAM; có cơ chế hỗ trợ một phần kinh phí đầu tư ban đầu nhằm khuyến khích các hộ lắp đặt ĐMTAM; có cơ chế cho các nhà đầu tư (bên thứ 3) tham gia đầu tư ĐMTAM trên mái công trình;
EVN đồng thời kêu gọi các nhà tài trợ, ngân hàng, tổ chức quốc tế và trong nước tham gia sâu rộng vào thị trường ĐMTAM ở Việt Nam; Các nhà sản xuất, cung cấp, lắp đặt phối hợp với EVN tuyên truyền, quảng bá, cung cấp các giải pháp, dịch vụ hỗ trợ mở rộng thị trường ĐMTAM.
Vũ Minh

